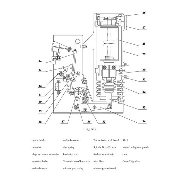
Dans des conditions normales, les contacts principaux restent fermés pour permettre un flux de courant continu. Lors de la détection d'une surintensité ou d'un court-circuit, le mécanisme à ressort sépare rapidement les contacts, produisant un arc contenu dans l'interrupteur à vide. L'arc est refroidi et éteint, isolant en toute sécurité le circuit défectueux et évitant d'endommager les équipements en aval. Cela garantit une fiabilité opérationnelle élevée et des besoins de maintenance minimes.
| |
- Test de tenue en tension
- Débogage du produit
- Débogage du produit
- Débogage du produit
- Débogage du produit
- Test de tenue en tension
- Essais de caractéristiques mécaniques
- Débogage du produit
- Tester la vitesse d'ouverture et de fermeture, le temps et la synchronisation
- Disjoncteur à vide haute tension
- Disjoncteur à vide intérieur moyenne tension VS1
Pour assurer la sécurité du transport, nos produits électriques sont exportés dans des caisses en bois renforcé. Les caisses subissent un traitement thermique et portent la marque ISPM-15, permettant un dédouanement rapide. La conception de la base surélevée facilite le fonctionnement du chariot élévateur, tandis que la fixation interne absorbant les chocs garantit que les produits arrivent intacts. Toutes les caisses extérieures sont clairement étiquetées et conformes aux normes logistiques internationales.
-
Sous-station de type boîte, disjoncteur ACB, disjoncteur VCB, disjoncteur MCCB
-
Sous-station de type boîte, disjoncteur ACB, disjoncteur VCB, disjoncteur MCCB
-
Sous-station de type boîte, disjoncteur ACB, disjoncteur VCB, disjoncteur MCCB
-
Transmission de puissance réussie
-
Armoire photovoltaïque raccordée au réseau utilisant un disjoncteur ACB et un disjoncteur MCCB
-
Transmission de puissance réussie
-
Sous-station de type boîte, disjoncteur ACB, disjoncteur VCB, disjoncteur MCCB
-
Transmission de puissance réussie
-
Armoire photovoltaïque raccordée au réseau utilisant un disjoncteur ACB et un disjoncteur MCCB
-
Armoire photovoltaïque raccordée au réseau utilisant un disjoncteur ACB et un disjoncteur MCCB
| Non | Article | Unités | Compter la valeur |
| 1 | La tension nominale | - | 12 24 35 |
| 2 | La tension nominale (short-term frequency tolerance 1min) | kV | 42 |
| 3 | La tension nominale tolerance lightning shocks peak | - | 75 |
| 4 | Fréquence nominale | Hz | 50 |
| 5 | Courant nominal | A | 630、1250 |
| 630、1250、1600、2000、2500、3150 | |||
| 1250、1600、2000、2500、3150、4000 | |||
| 6 | Courant nominal en court circuit ouvert | kA | 20/25、31,5、40 |
| 7 | La tension nominale short tolerance | kA | 20/25、31,5、40 |
| 8 | Noté courte durée | s | 4 |
| 9 | Courant nominal peak tolerance | kA | 50/63、80、100 |
| 10 | Courant de court-circuit nominal fermé | kA | 50/63、80、100 |
| 11 | La tolérance de tension de fréquence du circuit secondaire 1 min) | V | 2000 |
| 12 | Courant en circuit ouvert d'un ensemble de condensateurs monopontaires nominaux | A | 630/400 (40 kA 800/400) |
| 13 | Courants proches du condensateur nominal | kA | 12,5 (fréquence ne dépassant pas 1 000 Hz) |
| 14 | Temps de freinage (tension nominale) | ms | ≤50 |
| 15 | Temps d'alimentation (tension nominale) | ms | ≤100 |
| 16 | Vie mécanique | - | 20000 |
| 17 | Courant nominal open circuit times (life) | Commutation | 20000 |
| 18 | Courant de court-circuit nominal en circuit ouvert | - | 50(40kA≤30) |
| 19 | Le contact dynamique et statique permet une épaisseur d'usure | mm | 3 |
| 20 | Le chargeur de tension de fonctionnement nominale | - | - |
| 21 | La tension nominale break-brake operations | V | AC110/220 DC110/220 |
| 22 | Tension nominale du moteur de stockage | - | - |
| 23 | Puissance nominale du moteur de stockage | W | 70 |
| 24 | Temps de stockage | s | ≤10 |
| 25 | Distance d'ouverture du contact | mm | 11 ± 1 |
| 26 | Super voyage | - | 3,5 ± 0,5 |
| 27 | Temps de rebond du contact de fermeture | ms | ≤240(A≤3) |
| 28 | Points triphasés, se fermant à différents stades de la sexualité | - | ≤2 |
| 29 | Vitesse moyenne de la porte (séparation des contacts - 6 mm) | m/s | 0,9–1,2 |
| 30 | Vitesse de fermeture moyenne (fermeture par contact de 6 mm) | m/s | 0,5–0,8 |
| 31 | Résistance du circuit électrique principal | μΩ | ≤50(630a)、≤45(1250A) ≤35(1600–2000A)、≤250(2400) |
| 32 | Pression de contact du contacteur d'alimentation | N | 2000±200(2000A)、2400±200(25kA) 3100±200(31,5 kA)、4250±250(40 kA) |
| 33 | La séquence de fonctionnement nominale | - | Points - 0,3 s - et points Années 180 - et - |

English
Français
Español
عربى




































